亚洲黄在线观看I久草I久久这里只有精品23I成人永久视频I最近2019中文免费高清视频观看www99I久久久国产视频

歡迎來到長沙賽思德信息技術有限公司!

長沙賽思德信息技術有限公司
業務咨詢 0731-82199263
售后服務 0731-84455511
您的當前位置:首頁 > 新聞資訊

緊急通知 | 異速聯用戶必看:Windows系統安全升級及產品升級指南

發布日期:2025-03-13 發布人: 原創 瀏覽次數:1217

緊急通知 | 異速聯用戶必看:Windows系統安全升級及產品升級指南

尊敬的合作伙伴及客戶朋友們:

近期,國家信息安全漏洞共享平臺頻繁發布針對舊版Windows系統的安全預警,為確保廣大用戶的數據安全與業務連續性,金萬維公司發布重要公告:2025年3月1日起,將對運行在未滿足安全要求的Windows系統上的異速聯產品實施暫停使用措施。作為金萬維的官方合作伙伴,我們第一時間為您梳理關鍵信息并提供應對方案,助您平穩過渡,規避風險!

為何必須立即行動?

1、安全威脅迫在眉睫

異速聯依賴Windows遠程端口運行,而微軟已停止對舊版系統(如Windows Server 2008/2012等)的安全補丁更新,系統漏洞可能被惡意攻擊者利用,導致數據泄露或業務中斷。

2、合規與業務連續性要求

使用已終止支持的Windows系統可能違反企業安全合規要求,且一旦服務暫停,將直接影響日常運營。


兩大解決方案!

Option one:將異速聯服務器端Windows操作系統升級至Windows server 2016及以上版態

適用場景:希望保留現有異速聯產品,僅需系統升級的用戶操作步驟:

1、將服務器操作系統升級至Windows Server 2016以上版本

2、安裝官方提供的“異速聯補丁包“for win2016x”(升級后自動恢復服務)

優勢:成本可控,無需更換產品,滿足基本安全需求

 

Option Two:升級異速聯產品至天聯online加速版(推薦)

適用場景:追求更高安全性、穩定性與體驗的企業用戶核心升級亮點:

零端口暴露集成VPN功能,無需開放Windows遠程端口,徹底消除端口攻擊風險;

性能飛躍訪問速度提升30%以上,支持高并發場景,穩定性大幅優化;

無縫兼容支持云端/本地混合部署,適配各類業務系統,平滑遷移無壓力。

優勢:一步到位解決系統與產品的雙重安全隱患,為企業構建未來5-10年的安全底座。


常見問題解答


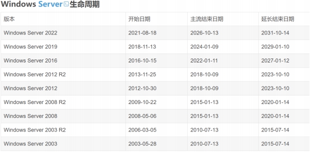
  • 我的服務器運行Windows server 2012 R2,是否必須升級?


是的!該版本已于2023年10月10日終止支持,無法獲得安全更新,需盡快升級至2016或更高版本。


  • 升級天聯online加速版是否需要重新部署業務系統?


無需重構!天聯加速版兼容原有異速聯配置,支持快速遷移,賽思德技術團隊將全程協助。


  • 如何獲取補丁包或升級服務?


請聯系您熟悉的經營人員或撥打賽思德全國技術支持熱線:

0731-82199263

我們將提供一對一方案規劃。

數據無價,安全為先

選擇賽思德,就是選擇一份長期可靠的技術承諾,讓我們攜手筑牢安全防線,共贏數字未來!




微信客服掃一掃咨詢微信客服
0731-82199263 Mobile code